Gry wideo to rozrywka, która jak dowodzą najświeższe badania, potrafi wpłynąć pozytywnie na wiele życiowych aspektów. Głównie wymienia się tutaj poprawę koncentracji, skupienia, refleksu, koordynacji wzrokowo-ruchowej czy zdolności do logicznego myślenia.
Wielogodzinne sesje z grami niosą oczywiście wraz ze sobą negatywne cechy. Zatapianie się przy tego typu elektronicznej rozrywce przez dłuższy czas nierozłącznie związane jest z tworzeniem się u wielu osób wad postaw. Często także gracze uskarżają się na bóle kręgosłupa, pleców, co oczywiście idzie w parze z niskim poziomem ruchu.
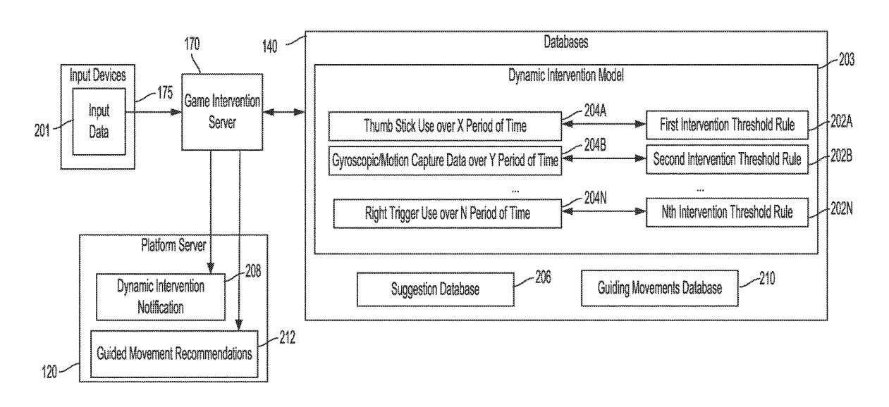
Producenci z Sony są świadomi tego globalnego problemu. Do ciekawych rzeczy dotarł zagraniczny serwis Opattack. Japoński gigant pracuje właśnie nad patentem, który ma zmuszać graczy podczas rozgrywki do prostego siedzenia i unikania zjawiska tzw. garbienia się.
Jak czytamy w opisie patentu, działanie mechanizmu ma opierać się o bieżącą analizę postawy i ruchów gracza podczas rozgrywki. Następnie urządzenie będzie porównywać stan gracza z powtarzalnymi, dobrymi wzorcami i prawidłowymi warunkami siedzenia. Patent ma przypominać o siedzeniu prosto, a kiedy pojawi się garbienie - natychmiast interweniować.

Urządzenie, o którym mowa, ma funkcjonować na bazie przechwytywania ruchów wykonywanych podczas gry, co wskazuje również na to, że Sony nie tylko chce "zająć się plecami graczy", ale najprawdopodobniej także analizować i oceniać ruchy innych kończyn w tym m.in. dłoni i palców.
O ewentualnej premierze urządzenia, jeśli ta w ogóle nastąpi, nie wiemy jednak zbyt wiele. Istnieje spora szansa, że patent wcielony w życie może być dopiero przy okazji premiery konsoli nowej generacji od Sony.










